Sectioned protecting cover AHGS 4
(length per section 35 mm) without mounting bracket
for planing width 410 mm (14 sections) Item-no. 30706
Sectioned protecting cover AHGS 5
(Länge pro Glied 35 mm) without mounting bracket
for planing width 510 mm (16 sections) Item-no. 30707
Sectioned protecting cover AHGS 6
(Länge pro Glied 35 mm) without mounting bracket
for planing width 630 mm (19 sections) Item-no. 30708
Kindly note that the sectioned protecting over AHGS 4-6 do not comply with the current regulations of the German Holz-BG.
Planing protection device AHTX-Matic (CE-Konform) Item-no. 30720
The AHTX-MATIC planer guard for planers features spring-loaded contact pressure, making it easy to use.
The wheel assembly at the end of the cutter block cover can be rotated into three positions. When the wheels are positioned vertically (Fig. 3), the cutter block cover automatically raises to a maximum height of 75 mm (according to CE standards) due to the pressure exerted by wide workpieces. After work is complete, the cover returns to its original position.
When processing narrow workpieces (Fig. 2), the wheels must be positioned horizontally. In this case, the cutter block cover moves away from the planer stop due to the pressure of the wood (up to a maximum stroke of 100 mm). When work is completed, the cover returns to its original position.
Planing protection device AHSV (CE-Konform) Item-no. 30710
for a safe work on surface planing machines with foldable protection cover in two pieces 400+260 mm. Thanks to the small design it's almost no disturbing frame in front of the machine.
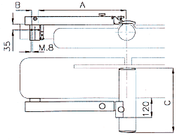
Planing protection device AHTX (CE-Konform)
for a safe work on surface planing machines with foldable protection cover in two pieces 400+260 mm. Easy montage frontal on the machine table. The version length corresponds to the distance between center cutter block and first fixation screw (measure A).
Version AHTX 500 mm Item-no. 30711
Version AHTX 650 mm Item-no. 30712
Version AHTX 850 mm Item-no. 30713
Spare cover 260 + 400 mm
suitable for AHSV and AHTX Item-no. 30714
Magnetic planing knife setting device DHE
in wooden case, Item-no. 30601
Knife shaft screw AHMW, thread R 1/4", key size 17 mm, version Wigo total length approx. 18 mm
Item-no. 30750
Knife shaft screw AHM, thread R 1/4", key size 17 mm, version Panhans total length approx. 21 mm












